Description
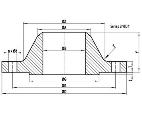
ASME B16.47 Series B Flanges Class 900 Dimensions and Technical Drawings ASME B16.47 Series B 900# Welding Neck Flange with RF ASME B16.47 Series B Class 900 Blind Flange with RF DOWNLOAD ASME B16.47 Series B Flanges Class 900 Dimensions and Technical Drawings PDF Get Complete details of ANSI/ASME B16.47 Standard Flange 900# B16.47 Series B Flanges Dimensions B16.47 Dimensions in MM NPS D K G X 26 1020 901.7 762 743 28 1105 971.6 819 797 30 1180 1035.0 876 851 32 1240 1092.2 927 908 34 1315 1155.7 991 962 36 1345 1200.2 1029 1016 General Note: All dimensions are in MM. D: outside diameter of flange. K: diameter of bolt circle. G: outside diameter of raised face. X: diameter of hub of WN flange. NPS A TBL TWN Y 26 660.4 154.0 135.0 259 28 711.2 166.7 147.7 276 30 762.0 176.1 155.6 289 32 812.8 186.0 160.4 303 34 863.6 195.0 171.5 319 36 914.4 201.7 173.1 325 General Note: All dimensions are in MM. A: Diameter of hub top of WN. TBL: minimum thickness of blind flange. TWN: minimum thickness of WN flange. Y: length through hub of WN. t: 7mm height of RF for Class 900 Series B flange. NPS n d l r 26 20 2-5/8 2-1/2 11 28 20 2-7/8 2-3/4 13 30 20 3-1/8 3 13 32 20 3-1/8 3 13 34 20 3-3/8 3-1/4 14 36 24 3-1/8 3 14 General Note: n: number of bolt holes. d: diameter of bolt hole. l: diameter of bolt. r: minimum fillet radius for WN. d and l are in inch units, while r is in mm unit. ASME B16.47 Series B Class 900 Flanges Industries and Applications Widely used in the industries Pumps, Valves, and vessels in manufacturing and food processing. Pipe…
