Description
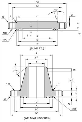
Dimension of 5000PSI (34.5MPA) type 6B Blind and API 6A Welding Neck Flange DOWNLOAD API 6A Type 6B 5000PSI Blind / Welding Neck Flange PDF Get Complete details of API Flange Size B OD C K P E T Q X BC N H LN HL JL R/RX 2 1/16" 53.2 215 3 124 95.25 7.9 46.1 38.1 104.8 165.1 8 26 109.5 60.3 43.7 24 2 9/16" 65.9 245 3 137 107.95 7.9 49.3 41.3 123.8 190.5 8 29 112.7 73 54.9 27 3 1/8" 81.8 265 3 168 136.53 7.9 55.6 47.7 133.3 203.2 8 32 125.4 88.9 67.5 35 4 1/16" 108.7 310 3 194 161.93 7.9 62 54 161.9 241.3 8 35 131.8 114.3 88.1 39 5 1/8" 131 375 3 229 193.68 7.9 81 73.1 196.8 292.1 8 42 163.5 141.3 110.3 44 7 1/16" 181.8 395 6 248 211.15 9.7 92.1 82.6 228.6 317.5 12 39 181 168.3 132.6 46 9" 229.4 485 6 318 269.88 11.2 103.2 92.1 292.1 393.7 12 45 223.8 219.1 173.8 50 11" 280.2 585 6 371 323.85 11.2 119.1 108 368.3 482.6 12 51 265.1 273.1 216.7 54 API 6A Type 6B 5000PSI Blind / Welding Neck Flange Industries and Applications Widely used in the industries Pumps, Valves, and vessels in manufacturing and food processing. Pipe connections in industrial waterworks. Heat exchangers and heating systems of all sizes. Mining support. Nuclear power systems. Plumbing and mechanical systems. Assemblies in the oil, gas, and petrochemical industries. Fire protection systems. API 6A Type 6B 5000PSI Blind / Welding Neck Flange Supply and Export Network List of Cities and Countries A-C D-J K-R S-Z Afghanistan Algeria Angola Argentina Australia Austria Azerbaijan Bahrain Bangladesh Belarus Belgium Bhutan Bolivia Brazil Bulgaria Canada Chile China Colombia Costa Rica Croatia Czech Republic Aberdeen Abu Dhabi…
