Description
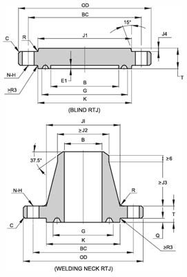
Dimension of 3000PSI (20.7MPA) Type 6B Blind and API 6A Welding Neck Flange DOWNLOAD API 6A Type 6B 3000PSI Blind / Welding Neck Flange Dimensions PDF Get Complete details of API Flange Size B OD C K P E T Q X BC N H LN HL JL R/RX 2 1/16" 53.2 215 3 124 95.25 7.9 46.1 38.1 104.8 165.1 8 26 109.6 60.3 50 24 2 9/16" 65.9 245 3 137 107.95 7.9 49.3 41.3 123.8 190.5 8 29 112.7 73 59.7 27 3 1/8" 81.8 240 3 156 123.83 7.9 46.1 38.1 127 190.5 8 26 109.5 88.9 74.4 31 4 1/16" 108.7 290 3 181 149.23 7.9 52.4 44.4 158.8 235 8 32 122.2 114.3 98 37 5 1/8" 131 350 3 216 180.98 7.9 58.8 50.8 190.5 279.4 8 35 134.9 141.3 122.9 41 7 1/16" 181.8 380 6 241 211.15 7.9 63.5 55.6 235 317.5 12 32 147.6 168.3 147.1 45 9" 229.4 470 6 308 269.88 7.9 71.5 63.5 298.5 393.7 12 39 169.9 219.1 189.7 49 11" 280.2 545 6 362 323.85 7.9 77.8 69.9 368.3 469.9 16 39 192.1 273 237.2 53 13 5/8" 346.9 610 6 419 381 7.9 87.4 79.4 419.1 533.4 20 39 – – – 57 16 3/4" 426.2 705 6 524 469.9 11.2 100.1 88.9 508 616 20 45 – – – 66 20 3/4" 527.8 855 6 648 584.2 12.7 120.7 108 622.3 749.3 20 54 – – – 74 1. RING NUMBER R or RX, 2. C should be the max value 3. Tolerance and Ring Gasket according to API 6A-20TH API 6A Type 6B 3000PSI Blind / Welding Neck Flange Industries and Applications Widely used in the industries Pumps, Valves, and vessels in manufacturing and food processing. Pipe connections in industrial waterworks. Heat…
